首 页
机构简介
资质荣誉
服务案例
新闻动态
所在位置:
所有产品
>
科技成果
(咨询服务)
限时特惠
距离结束仅剩
天
交易价格:
交易方式:
秒 杀 价:
元 [
]
享受政策:
行业领域:
成熟度:
浏览量:
发布时间:
来源地:天津市-天津市-河东区
产品详情
服务评价
成交记录
有效期内知识产权情况:
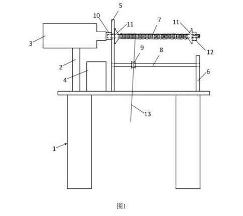
发明专利 用于纤维缠绕的退纱装置 201510499026.X
详细信息:
成果简介:一种用于纤维缠绕的退纱装置,包括工作平台,工作平台台面上依次安装有支撑架、变频器、第一支撑板和第二支撑板;电机安装在支撑架上,退纱杆一端穿过第一支撑板,与电机出轴通过联轴器连接,另一端安装有螺母;退纱杆与第一支撑板之间设置有轴承;退纱杆上安装有两个定位环;导向杆安装在第一支撑板和第二支撑板之间,导向环安装在导向杆上;变频器与电机连接。
成果核心创新点:可用于纤维湿法缠绕或干法缠绕的退纱操作,实现了退纱的自动化,减轻了退纱人员的工作强度,方便了退纱操作,具有良好的实用性和推广性。
成果详细用途:纤维的缠绕是一种常见的复合材料成型方法,在纤维缠绕中,经常会出现纤维错头或者纤维起毛断纱的情况,这就需要对缠绕的纤维进行退纱操作。
预期效益说明:可用于纤维湿法缠绕或干法缠绕的退纱操作,结构简单,能够根据缠绕制品的纤维铺放调节退纱纤维的走向,使退纱纤维平均分布在退纱轴上,通过调节变频器以调节电机的运行速度,使之与机器主轴的运转速度相匹配,解决了在退纱时纤维松动、脱落等问题,提高了退纱效率,实现了退纱的自动化,减轻了退纱人员的工作强度,安装使用方便,具有良好的实用性和推广性。
联系我们
孔婷婷
更多推荐