首 页
机构简介
资质荣誉
服务案例
新闻动态
所在位置:
所有产品
>
科技成果
(咨询服务)
限时特惠
距离结束仅剩
天
交易价格:
交易方式:
秒 杀 价:
元 [
]
享受政策:
行业领域:
成熟度:
浏览量:
发布时间:
来源地:天津市-天津市-和平区
产品详情
服务评价
成交记录
有效期内知识产权情况:
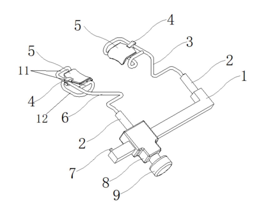
发明专利 一种挡板可移动式开睑器 2021201039038
详细信息:
成果简介:一种挡板可移动式开睑器,由于第一开睑部和第二开睑部上分别设置有可以活动的挡板,降低了因不能遮挡眼睫毛造成眼睫毛对手术区域造成污染的情况。
成果核心创新点:由于第一开睑部和第二开睑部上分别设置有可以活动的挡板,所述挡板能够实现对眼睫毛遮挡的目的,减少眼睫毛因脱落至手术区造成手术区污染的情况。此外,在眼科手术过程中,固定的挡板有时反而成为某些手术操作的一种障碍,影响手术的顺利进行。
成果详细用途:一种挡板可移动式开睑器,由于第一开睑部和第二开睑部上分别设置有可以活动的挡板,降低了因不能遮挡眼睫毛造成眼睫毛对手术区域造成污染的情况。
预期效益说明:开睑器挡板能够实现对眼睫毛遮挡的目的,降低了因不能遮挡眼睫毛造成眼睫毛对手术区域造成污染的情况。此外,固定的挡板有时反而成为某些手术操作的一种障碍,影响手术的顺利进行,而挡板可移动式开睑器则可克服上述缺陷。
联系我们
王倩
更多推荐