首 页
机构简介
资质荣誉
服务案例
新闻动态
所在位置:
所有产品
>
科技成果
(咨询服务)
限时特惠
距离结束仅剩
天
交易价格:
交易方式:
秒 杀 价:
元 [
]
享受政策:
行业领域:
成熟度:
浏览量:
发布时间:
来源地:天津市-天津市-静海区
产品详情
服务评价
成交记录
有效期内知识产权情况:
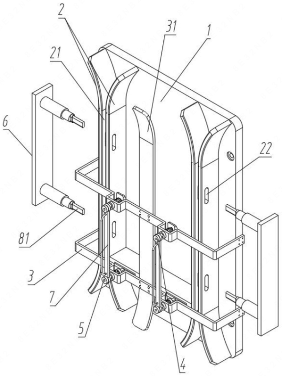
实用新型专利 折弯成型件侧冲孔模具 ZL202321333776.6
详细信息:
通过导向件和配合组件的结合使用,在上料时,折弯成型件的侧翼限位于线槽中,并沿着线槽移动,通过止挡件的阻挡,以能够将折弯成型件限位在静模座上的预定位置,通过抵压件的抵压,以能够将折弯成型件压紧在静模座上。上述方式的结合以能够实现薄板类折弯成型件的定位固定,且通过侧向冲孔的方式以实现孔位的批量加工,有效满足薄板类折弯成型件的加工需求,实用性强。
联系我们
强兆胜
更多推荐