所有产品 > 科技成果
产品信息图片
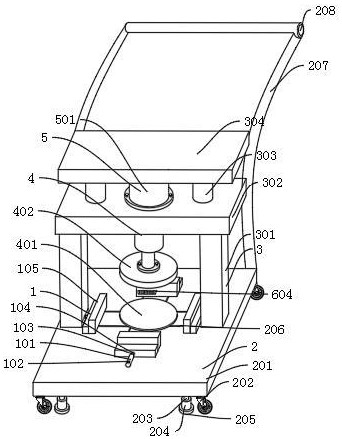
一种铝型材冲压机
行业领域:
成熟度:
浏览量: 发布时间:
来源地:天津市-天津市-静海区
  • 产品详情
  • 服务评价
  • 成交记录
  • 详细信息:

    成果简介:通过集成自动限位、模具清洁和便捷移动功能,解决了现有人工操作风险高、模具清理不便和设备移动困难的问题。

    成果核心创新点:

    1.自动限位固定:采用电动推杆驱动的限位机构,可自动对不同尺寸的工件进行夹紧固定,无需人工干预。

    2.自动清洁系统:通过电机驱动的旋转板和硬毛刷,可自动清理冲压下模上的异物。

    3.便捷移动设计:配备万向轮和电动固定装置,便于设备移动并在到位后自动稳固。

    成果详细用途:

    1.用于铝型材的冲压成型加工。

    2.适用于需要频繁更换加工位置或加工不同尺寸工件的车间环境。

    3.特别适合对冲压模具清洁度要求较高的精密冲压作业。

    预期效益说明:

    1.安全提升:自动限位和清洁减少了人工操作,显著降低安全事故风险。

    2.效率提高:自动化功能节省了工件固定和模具清洁时间,提升工作效率。

    3.使用便利:移动便捷的设计减少了设备搬运的人力和时间成本。


      联系我们

      李玲玉 

        

      更多推荐