所有产品 > 科技成果
产品信息图片
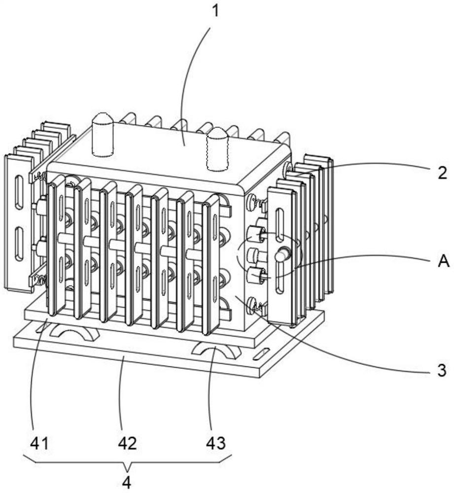
一种变压器防碰撞浇铸铝合金壳体
行业领域:
成熟度:
浏览量: 发布时间:
来源地:天津市-天津市-静海区
  • 产品详情
  • 服务评价
  • 成交记录
  • 详细信息:

    成果简介:通过优化结构设计,提供了一种具有防碰撞和增强散热功能的变压器外壳,旨在解决现有变压器壳体易受碰撞变形导致内部元件损坏的问题,同时改善散热性能,延长变压器使用寿命。

    成果核心创新点:

    1.缓冲机构:采用弹簧连接的安装板和铝合金散热翅片,吸收和缓冲外部冲击力,减少壳体形变。

    2.散热设计:铝合金散热翅片与铜质伸缩杆结合,形成网格结构,促进气流接触和热量传导,提升散热效率。

    3.报警机构:设置按压开关和报警器,在碰撞时触发报警,及时提醒维护。

    4.底座机构:通过板簧连接支撑板和底板,提供额外减震保护。


    成果详细用途:本壳体主要用于变压器的外部防护,适用于各种户外或易受碰撞的场所(如变电站、工业区),能有效保护变压器内部线圈和铁芯等元件,避免因意外碰撞导致的损坏,同时通过增强散热确保变压器在高温环境下稳定运行。

    预期效益说明:

    1.提高使用寿命:防碰撞设计减少壳体变形和内部元件损伤,延长变压器使用年限。

    2.增强散热效果:优化散热结构降低内部温度,减少过热故障,提升运行可靠性。

    3.降低维护成本:减少因碰撞和过热引发的维修需求,节约维护费用。

    4.安全预警:报警功能及时通知碰撞事件,便于快速响应,避免潜在事故。


      联系我们

      孙国松 

        

      更多推荐