首 页
机构简介
资质荣誉
服务案例
新闻动态
所在位置:
所有产品
>
科技成果
(咨询服务)
限时特惠
距离结束仅剩
天
交易价格:
交易方式:
秒 杀 价:
元 [
]
享受政策:
行业领域:
成熟度:
浏览量:
发布时间:
来源地:天津市-天津市-塘沽
产品详情
服务评价
成交记录
有效期内知识产权情况:
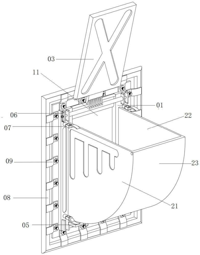
实用新型专利 二次结构灌浆装置 CN222667629U
详细信息:
本实用新型涉及一种建筑施工设备,特别是涉及一种二次结构灌浆装置,包括母模具、模斗、封堵板、模斗下料口开合组件,所述母模具上设置有通孔,所述通孔形成第一灌浆口,所述母模具用于连接于待浇注的二次结构的模板墙体上,所述模斗可拆卸连接于所述母模具上,所述模斗顶部设置有加料口、底部设置有下料口、侧边设置有第二灌浆口,所述加料口用于向所述模斗内添加混凝土,所述下料口用于去除所述模斗内多余的混凝土,所述模斗下料口开合组件连接于所述母模具上,所述模斗下料口开合组件用于打开或关闭所述下料口,所述封堵板连接于所述母模具上,所述封堵板用于封堵在所述加料口上。本实用新型浇注后的二次结构的顶端完全与承重梁的底面接触。
联系我们
刘凯
更多推荐