所有产品 > 科技成果
产品信息图片
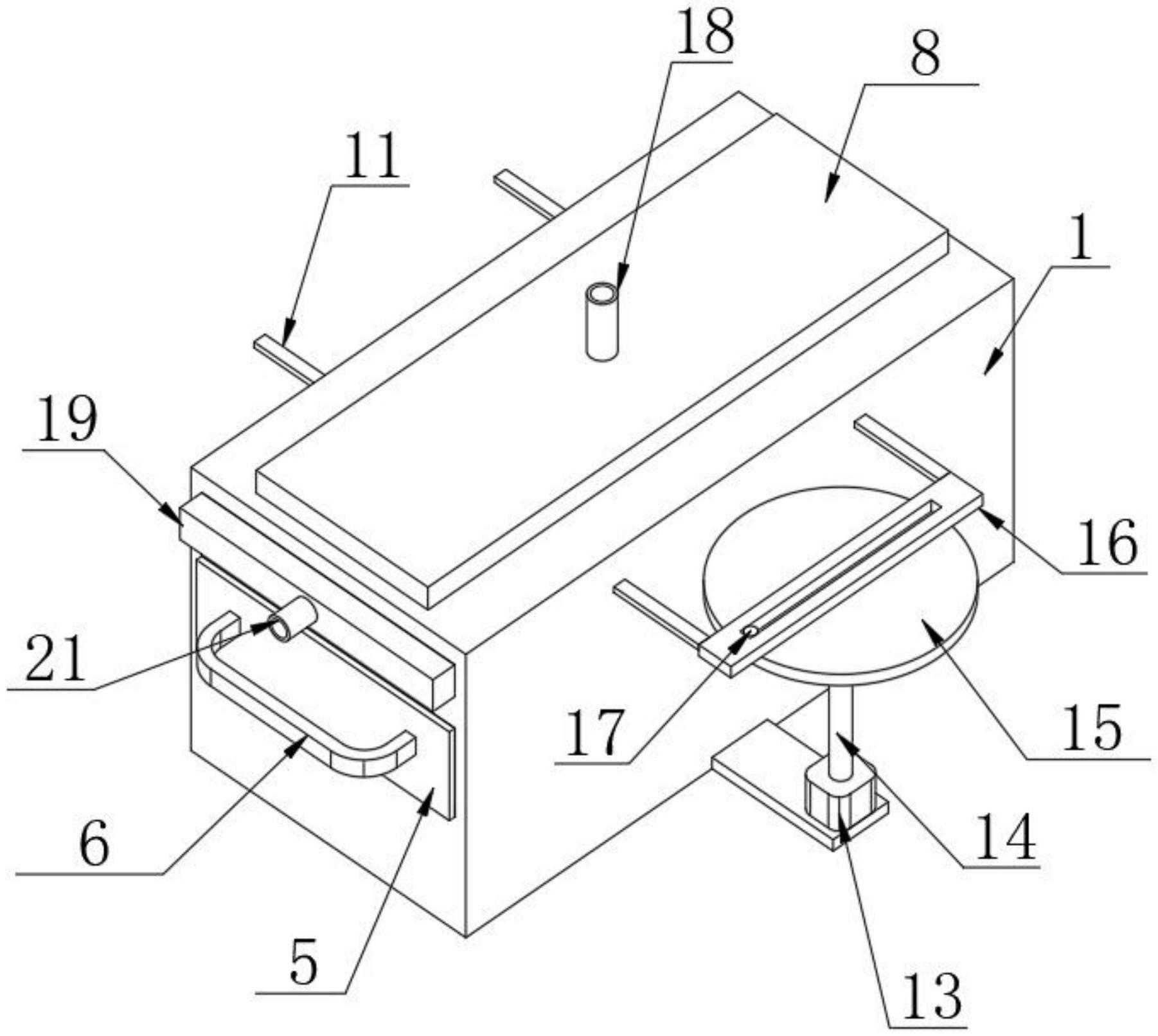
一种镀锌带钢预处理装置
行业领域:
成熟度:
浏览量: 发布时间:
来源地:天津市-天津市-静海区
  • 产品详情
  • 服务评价
  • 成交记录
  • 详细信息:

    成果简介:通过可摆动喷洒和集成烘干功能,解决现有装置清洗不均和清洗后需单独晾干的问题,旨在提升清洗效果与作业效率。

    成果核心创新点:

    1.动态清洗机构:通过电机驱动喷头前后往复摆动,扩大清洗液喷洒范围,确保对带钢表面进行均匀、无死角的清洗。

    2.在线烘干设计:集成热风烘干系统,可在清洗后立即对移动中的带钢进行烘干,实现清洗与干燥的连续作业。

    成果详细用途:

    1.主要用于镀锌带钢生产前的预处理环节,有效清除带钢表面的油污、氧化物等杂质。

    2.适用于需要高效、连续清洗和干燥的带钢生产线,能直接替代传统固定喷淋与自然晾干的作业方式。

    预期效益说明:

    1.质量提升:摆动喷淋确保清洗全覆盖,提高镀锌前带钢表面的清洁度与镀层质量

    2.效率提升:清洗与干燥一体化设计大幅缩短处理时间,减少中间环节,提升整体生产效率。


      联系我们

      邱官金 

        

      更多推荐