所有产品 > 科技成果
产品信息图片
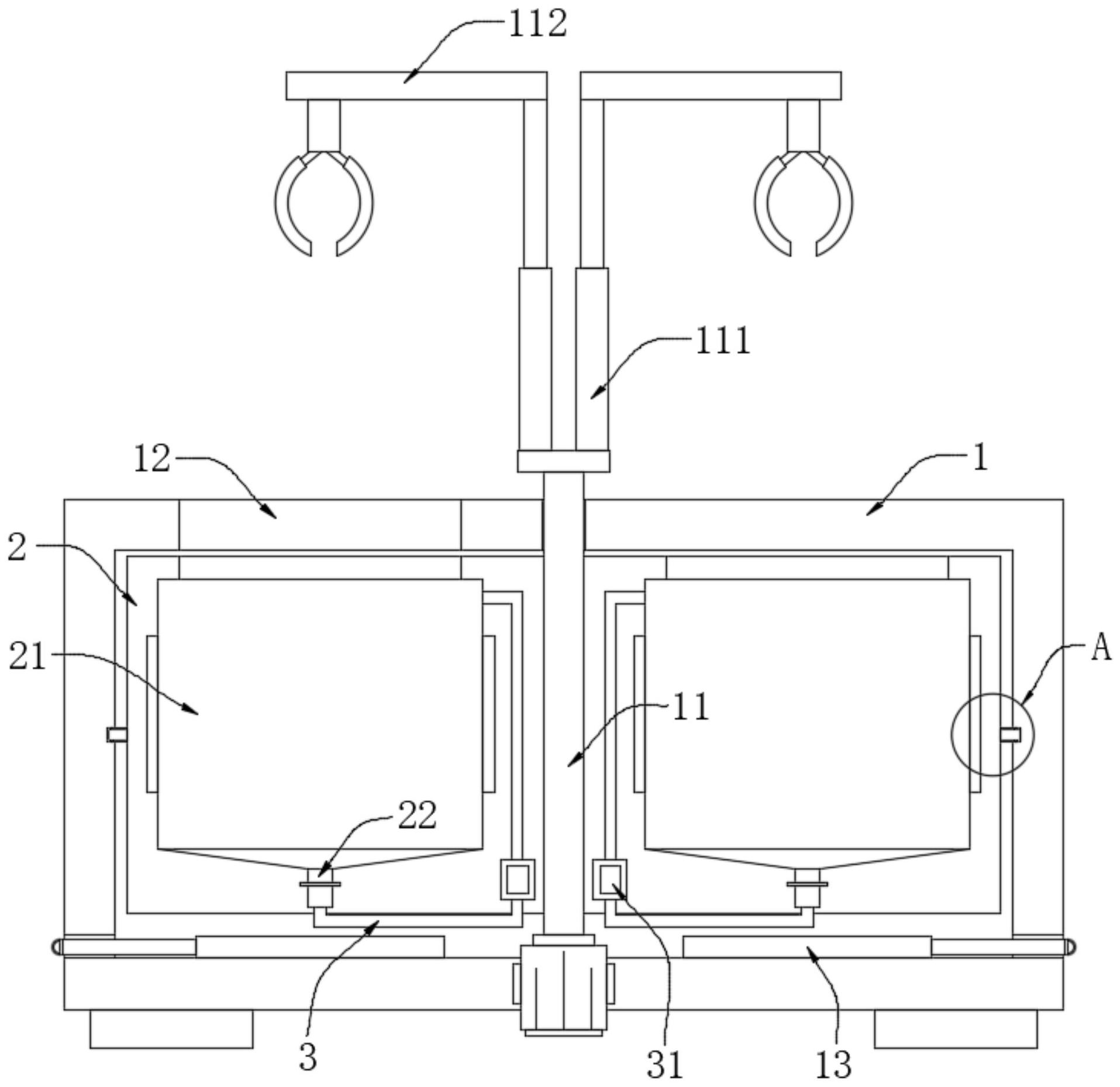
一种金属结构加工用的镀锌设备
行业领域:
成熟度:
浏览量: 发布时间:
来源地:天津市-天津市-静海区
  • 产品详情
  • 服务评价
  • 成交记录
  • 详细信息:

    成果简介:通过改进冷却系统结构,解决了连续作业中冷却水温度升高导致的金属冷却效率下降问题,同时实现锌颗粒回收,提高资源利用率。

    成果核心创新点:

    1.双冷却槽交替作业:通过两个冷却槽交替使用,避免水温持续上升,确保冷却效率。

    2.锌颗粒过滤回收:内置过滤网自动收集镀锌过程中脱落的锌颗粒,减少原料浪费。

    3.联动驱动结构:通过驱动杆、伸缩杆和顶杆的配合,实现高效换料与连续作业。

    4.模块化排水设计:水泵与水管联动,实现冷却水的循环与快速降温。

    成果详细用途:适用于金属结构件(如钢铁制品)的热镀锌加工,尤其适用于连续生产场景。通过冷却仓和内仓的协同作业,完成镀锌后的高效冷却、锌颗粒回收及冷却水温度控制,提升整体镀锌质量与效率。

    预期效益说明:

    1.提升冷却效率:避免水温升高导致的冷却效果下降,缩短冷却时间,提高生产效率。

    2.降低原料成本:锌颗粒回收减少锌耗,节约生产成本。

    3.延长设备寿命:稳定的冷却系统减少高温对元件的损耗,降低维护频率。

    4.环保节能:通过循环冷却和资源回收,减少废水与原料浪费,符合绿色制造要求。


      联系我们

      李玲玉 

        

      更多推荐