首 页
机构简介
资质荣誉
服务案例
新闻动态
所在位置:
所有产品
>
科技成果
(咨询服务)
限时特惠
距离结束仅剩
天
交易价格:
交易方式:
秒 杀 价:
元 [
]
享受政策:
行业领域:
成熟度:
浏览量:
发布时间:
来源地:天津市-天津市-和平区
产品详情
服务评价
成交记录
有效期内知识产权情况:
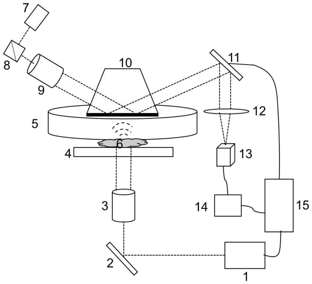
发明专利 基于结构光探测的光声成像装置与方法 ZL202210828957.X
详细信息:
本发明为基于结构光探测的光声成像装置与方法,包括光声激光器、反射镜、第一扩束器、载物台、样品池、探测激光器、偏振光分束器、耦合传感器、数据采集卡、计算机、第二扩束器、数字微镜器件、凸透镜和光电探测器,耦合传感器为底部涂有石墨烯层或金属膜的棱镜;样品池内含有液体,底部开有窗口并密封透声薄膜,透声薄膜通过超声耦合剂与成像物体接触;数字微镜器件与计算机连接,光电探测器与数据采集卡连接,数据采集卡与计算机连接;光声激光器与计算机连接。本发明方法无需机械移动,只需要通过改变数字微镜器件的编码多次,再经计算机的图像重建模块即可计算出三维光声图像,从而大大提高成像速度和降低运动伪影与噪声。
联系我们
王睿
更多推荐