所有产品 > 科技成果
产品信息图片
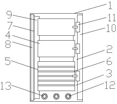
磨床电气配电单元
行业领域:
成熟度:
浏览量: 发布时间:
来源地:天津市-天津市-静海区
  • 产品详情
  • 服务评价
  • 成交记录
  • 详细信息:

    成果简介:通过设计可转动的内部安装结构,解决了传统配电柜因框架固定而导致内部设备维护不便的问题。

    成果核心创新点:

    1.可转动式安装架:通过转动轴架和左右滑槽的配合,使安装架和配线架能整体旋出柜体,为内部维护提供充足操作空间。

    2.模块化滑动设计:安装架与配线架通过固定滑块和可拆卸滑块连接,实现快速装拆与位置调整,提升维护灵活性。

    成果详细用途:

    1.适用于磨床等工业场景的电力分配与控制,满足加工车间、铸造等环境对封闭式配电设备的需求。

    2.通过可转动结构和分层配线区域,优化内部空间利用,便于电气元件的安装、检修与线路整理。

    预期效益说明:

    1.维护效率提升:无需整体拆卸柜体,直接转动架体即可进行维护,显著减少作业时间和人力成本。

    2.适用性增强:模块化设计适应多种安装需求,密封穿线孔结构提升在粉尘、潮湿环境下的安全性。


      联系我们

      孙国松 

        

      更多推荐