所有产品 > 科技成果
产品信息图片
一种具有快速冷却结构的注塑冲压模具一种具有快速冷却结构的注塑冲压模具一种具有快速冷却结构的注塑冲压模具一种具有快速冷却结构的注塑冲压模具
行业领域:
成熟度:
浏览量: 发布时间:
来源地:天津市-天津市-静海区
  • 产品详情
  • 服务评价
  • 成交记录
  • 详细信息:

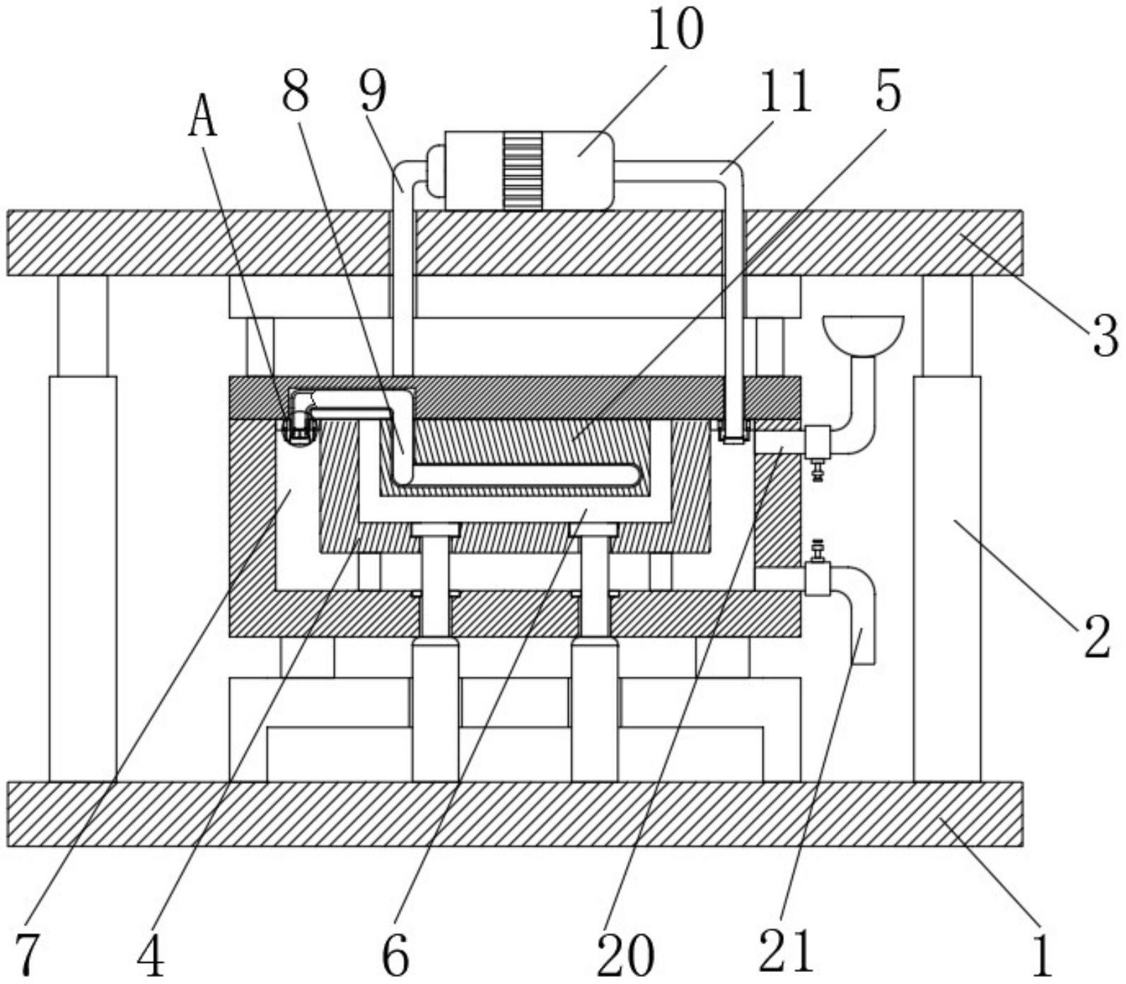
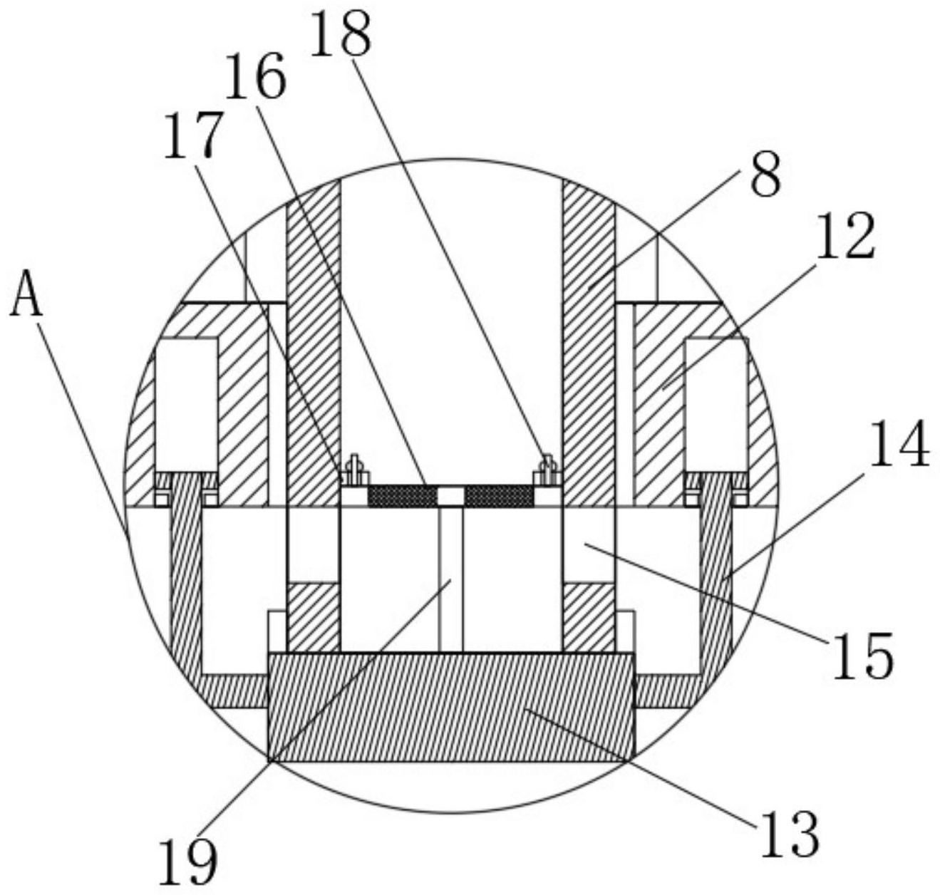
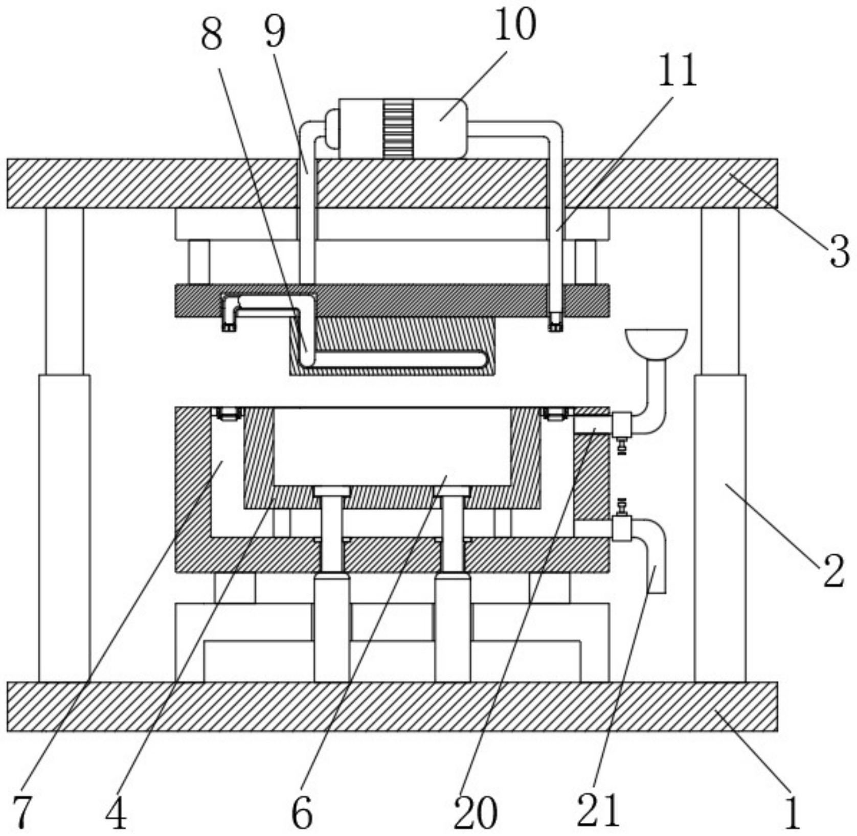
    成果简介:通过设计主动水循环冷却系统,有效解决了传统模具冷却效率低下的问题,显著缩短了制件成型周期。

    成果核心创新点:

    1.双面主动冷却:在凸模内设置冷却管,在凹模内设置空室,通过水泵驱动冷却水在两者间循环,同时对制件的上下两面进行快速冷却。

    2.集成化密封循环系统:通过盖板、活动板与活动杆的配合,在合模时自动连通冷却回路,既保证了密封性防止污染,又实现了高效的热交换。

    3.可维护性设计:冷却管内设有可拆卸的过滤板,能有效过滤杂质防止堵塞,空室设有带阀门的换水管和加水管,便于维护。

    成果详细用途:主要用于注塑冲压成型工艺,特别适用于需要快速冷却以提升生产效率的塑料制件生产场景。

    预期效益说明:

    1.提升生产效率:快速冷却大幅缩短了制件的成型周期,从而提高产能。

    2.保证产品质量:均匀高效的冷却有助于减少制件变形等缺陷,提升产品合格率。

    3.降低维护成本:密封设计和过滤结构减少了水路污染与堵塞,降低了清洗和维护频率及成本。


      联系我们

      闫振军 

        

      更多推荐