首 页
机构简介
资质荣誉
服务案例
新闻动态
所在位置:
所有产品
>
科技成果
(咨询服务)
限时特惠
距离结束仅剩
天
交易价格:
交易方式:
秒 杀 价:
元 [
]
享受政策:
行业领域:
成熟度:
浏览量:
发布时间:
来源地:天津市-天津市-河东区
产品详情
服务评价
成交记录
有效期内知识产权情况:
发明专利 开槽零件尺寸测量方法 201710191728.0
详细信息:
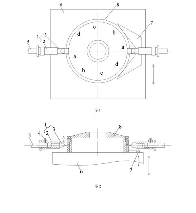
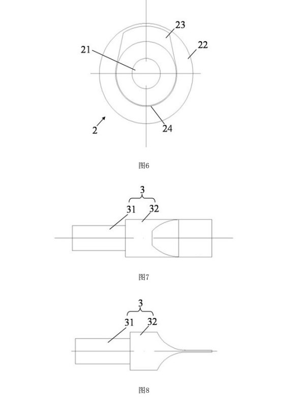
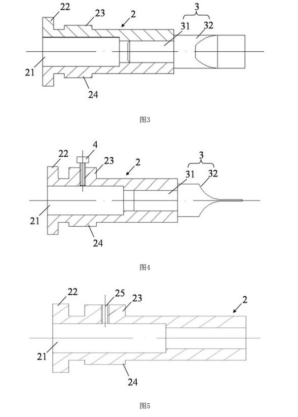
成果简介:一开槽零件尺寸测量方法,包括均通过紧固螺钉安装于测长仪的测量杆上的一对测量具组件,所述测量具组件包括过盈连接的测帽和测头。
成果核心创新点:安装在测长仪的测量杆上,直接接触测量被测零件的开槽部位外径,实现该类零件开槽尺寸接触式精密测量,比较现有的测量方法,测量值更加准确,测量范围更大,工作效率更高。
成果详细用途:安装在测长仪的测量杆上
预期效益说明:
同于现有的非接触式测量方法,避免了由于零件边缘轮廓,经过光路成像后有较大散射,影像不很清晰,还有,对于外面缠有其他材料,且开槽宽度很窄,开槽后缠绕材料的碎屑不易清理干净,影响测量聚焦,导致测量尺寸误差较大的问题,通过测量具的薄片部分对开槽零件进行接触测量,测量中能够调整零件轴线与测头的垂直,能精确调整至最大直径位置,实现了开槽部位外径尺寸的接触式精密测量方法,能够测量任意轴向和径向指定位置的直径尺寸,提高测量准确度和测量效率。
联系我们
孔婷婷
更多推荐