首 页
机构简介
资质荣誉
服务案例
新闻动态
所在位置:
所有产品
>
科技成果
(咨询服务)
限时特惠
距离结束仅剩
天
交易价格:
交易方式:
秒 杀 价:
元 [
]
享受政策:
行业领域:
成熟度:
浏览量:
发布时间:
来源地:天津市-天津市-塘沽
产品详情
服务评价
成交记录
有效期内知识产权情况:
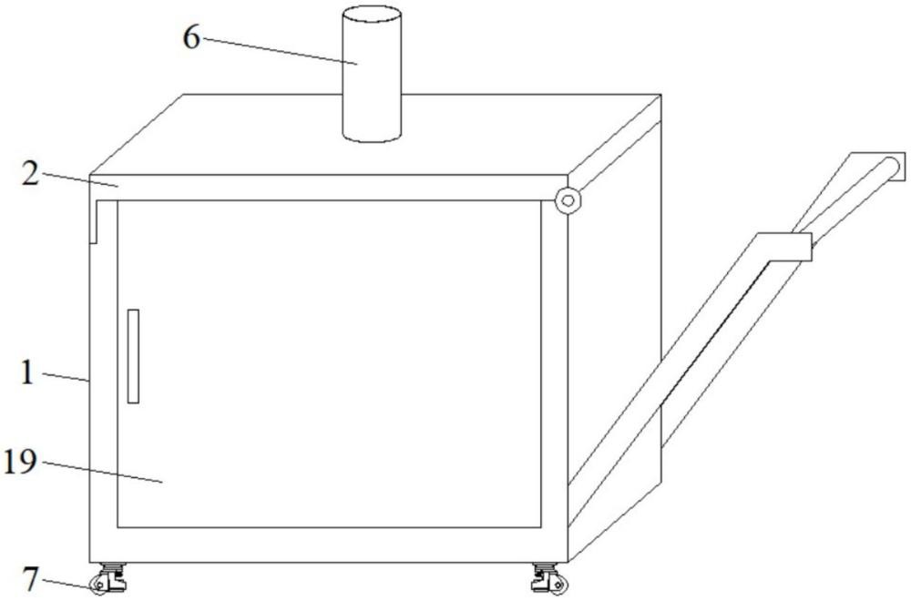
发明专利 一种轻质材料加工输送装置 CN221233806U
详细信息:
本实用新型涉及轻质建筑材料加工输送技术领域,提供了一种轻质材料加工输送装置,包括储料箱和箱盖,所述箱盖安装于所述储料箱的顶部,所述储料箱内部两侧均设置有夹持板,所述储料箱内顶部设置有压紧板,所述储料箱内部底部中心设置有带动两侧所述夹持板位移的驱动机构,所述箱盖中心设置有驱动所述压紧板下移的下压机构,两侧所述夹持板和所述压紧板相适配。本实用新型通过内部设置的夹持板和压紧板配合驱动其运动的驱动机构和下压机构,可对内部摆放的多个轻质砖进行全方位的固定,有效避免运输过程中出现掉落磕碰等情况,同时在颠簸路段,顶部的压紧板能够避免砖块颠出,更加实用。
联系我们
刘凯
更多推荐