首 页
机构简介
资质荣誉
服务案例
新闻动态
所在位置:
所有产品
>
科技成果
(咨询服务)
限时特惠
距离结束仅剩
天
交易价格:
交易方式:
秒 杀 价:
元 [
]
享受政策:
行业领域:
成熟度:
浏览量:
发布时间:
来源地:天津市-天津市-河东区
产品详情
服务评价
成交记录
有效期内知识产权情况:
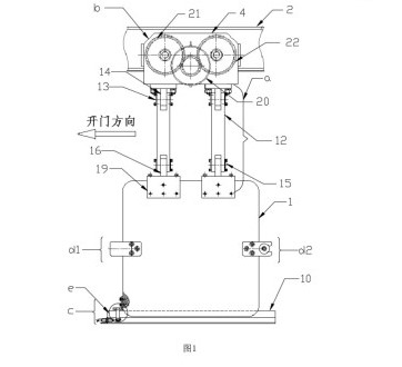
实用新型专利 一种真空室悬挂式自动平移门 201921521482.X
详细信息:
成果简介:本成果是一种真空室悬挂式自动平移门,包括真空室门板、位于所述真空室门板顶部的横梁、将所述真空室门板悬挂在所述横梁上并驱动所述真空室门板沿所述横梁做直线运动的行走小车、设置在所述真空室门板底部且在所述直线运动方向进行导向的支撑导向机构和锁紧机构。
成果核心创新点:与现有技术相比,本成果采取的是电机驱动和电缸配合的方式,能够实现门体平移和预紧动作。解决了传统真空室铰链门占用空间大的问题,能够实现自动化操作。
成果详细用途:真空腔室门技术领域,特别是涉及一种真空室悬挂式自动平移门。
预期效益说明:解决了真空室开闭需要人工开闭,费时费力,存在安全隐患的问题。
联系我们
孔婷婷
更多推荐