首 页
机构简介
资质荣誉
服务案例
新闻动态
所在位置:
所有产品
>
科技成果
(咨询服务)
限时特惠
距离结束仅剩
天
交易价格:
交易方式:
秒 杀 价:
元 [
]
享受政策:
行业领域:
成熟度:
浏览量:
发布时间:
来源地:天津市-天津市-和平区
产品详情
服务评价
成交记录
有效期内知识产权情况:
实用新型专利 一种图书馆书架清理机 ZL202420562738.6
详细信息:
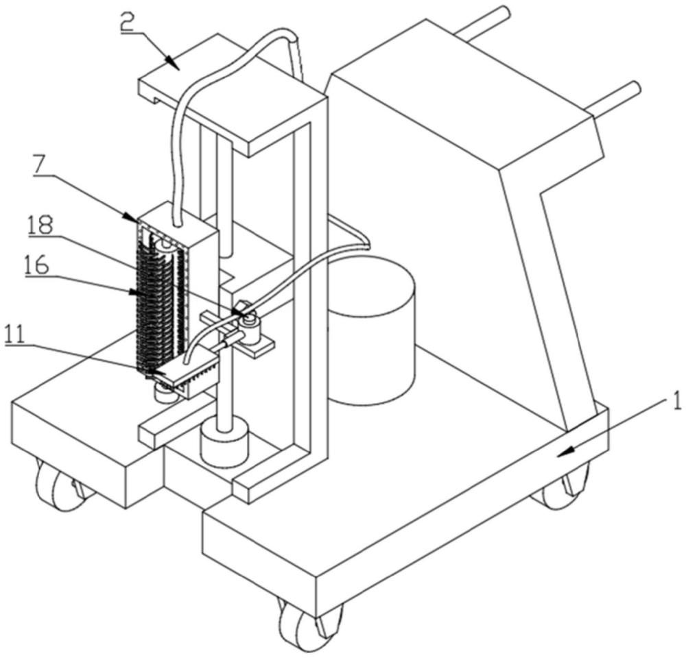
本实用新型属于清洁设备技术领域,尤其为一种图书馆书架清理机,包括移动车体、设置在移动车体前侧的支撑架以及通过升降组件连接在支撑架上的吸尘组件,所述吸尘组件包括设在移动车体上的吸尘器、设置在吸尘器上的吸尘管、通过第一吸尘分管与吸尘管连接的固定架、安设在固定架上的电动扫尘掸、开设在固定架外侧的第一吸尘孔、设置在固定架侧壁的支撑板、活动连接在支撑板顶部的转筒、通过电动伸缩杆连接在转筒外侧的扫尘板、用于连接扫尘板与吸尘管的第二吸尘分管以及均匀开设在扫尘板底部的第二吸尘孔。本实用新型能够对书架上和图书顶部上附着的灰尘进行清理,扩大吸尘的范围,提高吸尘的效率,同时还能够对不同高度的书架进行清理,节省人力。
联系我们
王睿
更多推荐