首 页
机构简介
资质荣誉
服务案例
新闻动态
所在位置:
所有产品
>
科技成果
(咨询服务)
限时特惠
距离结束仅剩
天
交易价格:
交易方式:
秒 杀 价:
元 [
]
享受政策:
行业领域:
成熟度:
浏览量:
发布时间:
来源地:天津市-天津市-中新生态城
产品详情
服务评价
成交记录
有效期内知识产权情况:
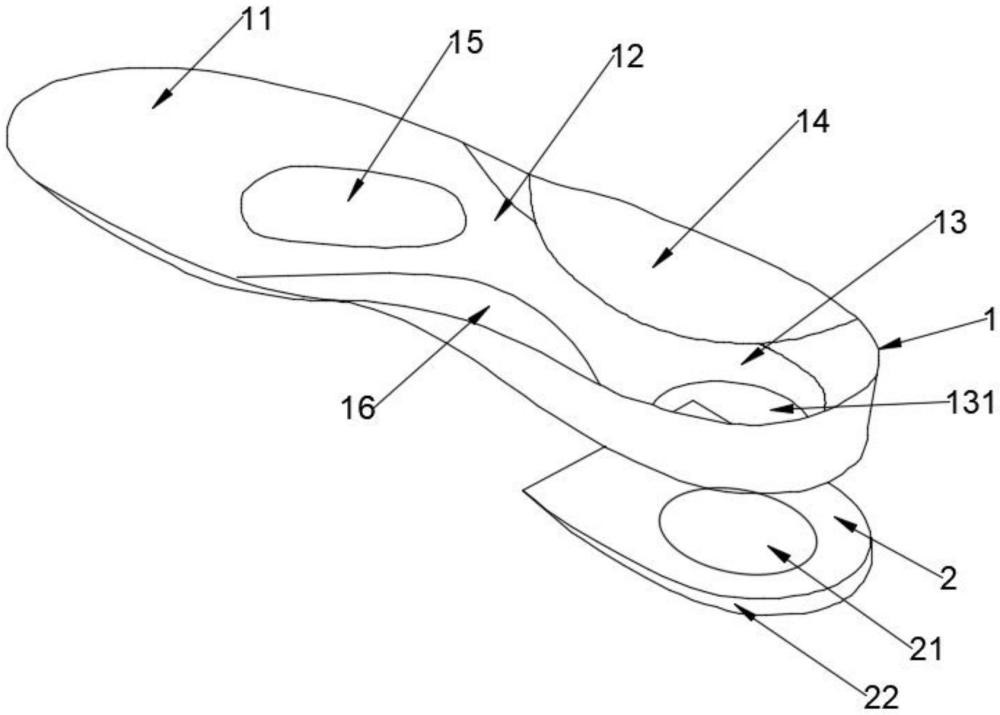
实用新型专利 一种可调整足跟承压的足辅具 CN223041011U
详细信息:
本实用新型提供了一种可调整足跟承压的足辅具,包括足垫与足跟垫,所述的足跟垫与足垫的底部相连;所述的足垫包括前足部、中足部、后足部,所述的后足部的底部设有孔洞,所述的足跟垫上设有凹陷,所述的孔洞与所述的凹陷相对应。本实用新型所述的可调整足跟承压的足辅具侧重于足跟轴,围绕足的三个足弓,以及足在行走时力学改变的原理,将足跟落地承受压力迅速转移,通过三维设计3D打印的方法将足辅具前足部分、中足、后足通过不同结构软硬结合,在符合足部力学和步态周期原理下,有效的调整足跟压力,从而达到缓解足跟疼痛的目的。
联系我们
叶在森
更多推荐