首 页
机构简介
资质荣誉
服务案例
新闻动态
所在位置:
所有产品
>
科技成果
(咨询服务)
限时特惠
距离结束仅剩
天
交易价格:
交易方式:
秒 杀 价:
元 [
]
享受政策:
行业领域:
成熟度:
浏览量:
发布时间:
来源地:天津市-天津市-静海区
产品详情
服务评价
成交记录
有效期内知识产权情况:
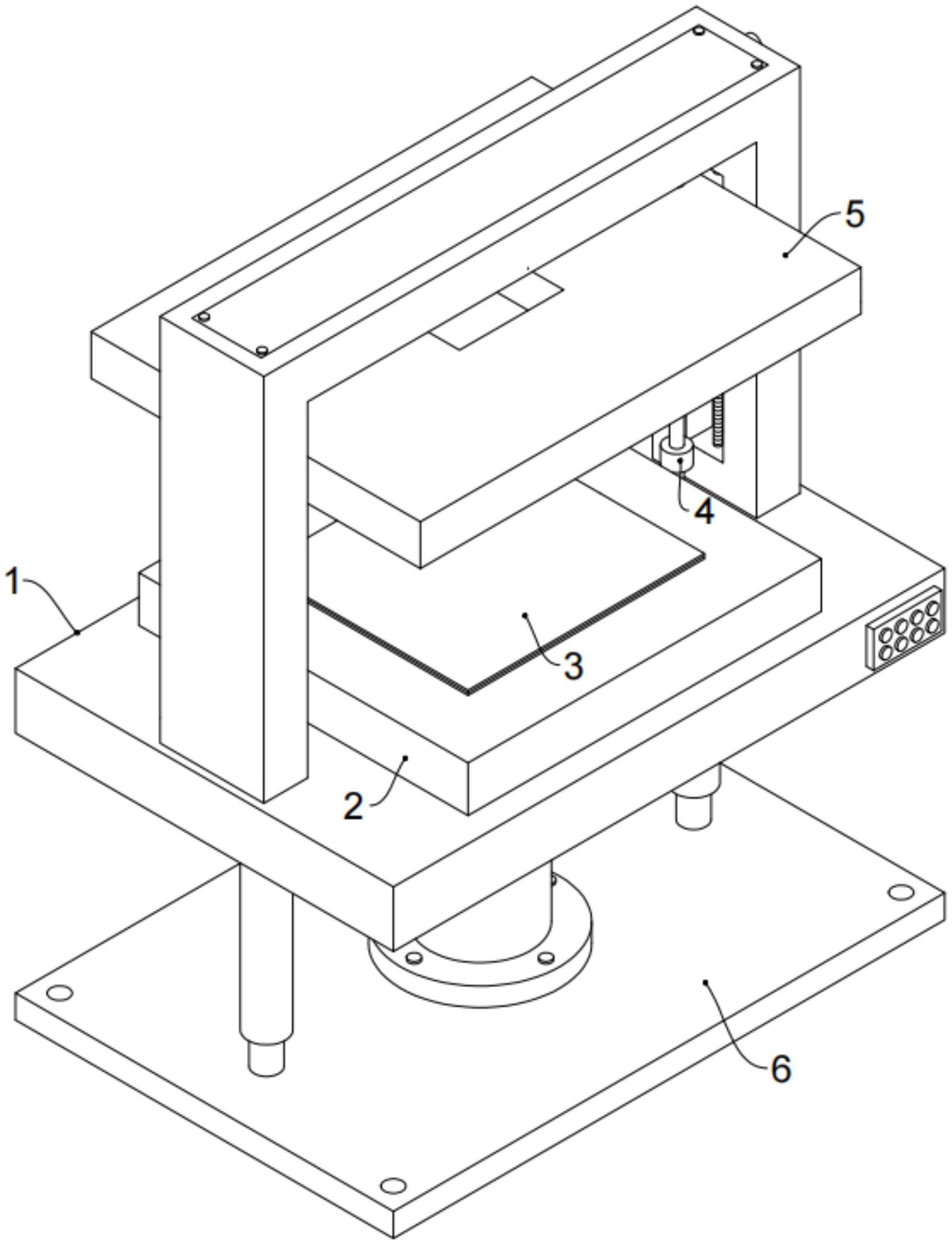
实用新型专利 一种夹层玻璃加工装置 CN202421686691.0
详细信息:
成果简介:
本成果是一种夹层玻璃加工装置,主要用于在加工过程中对夹层玻璃板进行稳定夹持固定,并通过可调节的限位结构适应不同厚度的玻璃板,提高加工精度和安全性。
成果核心创新点:
夹持组件创新
:采用蜗轮蜗杆传动系统,驱动电机控制夹持板上下移动,具备自锁功能,确保夹持稳固;
限位组件创新
:通过可调节的阻挡环限制夹持板下移范围,避免夹碎玻璃,并能灵活适应不同厚度的夹层玻璃板。
成果详细用途:
用于夹层玻璃的加工环节(如切割、打磨或组装),通过夹持组件固定玻璃板,保证加工稳定性;限位组件可根据玻璃厚度调整夹持力度,适用于多种规格的夹层玻璃生产。
预期效益说明:
提高效率
:自动化夹持减少人工操作,加快加工流程;
减少损耗
:精准控制夹持力度,降低玻璃破碎风险,节约成本;
增强适应性
:可处理不同厚度的玻璃,提升生产灵活性和产品一致性。
联系我们
董大周
更多推荐